|
不銹鋼緊固件系列
不銹鋼外六角螺絲
不銹鋼內六角螺絲
不銹鋼十字槽螺釘
不銹鋼自攻螺釘
不銹鋼緊定螺釘
不銹鋼馬車螺栓
不銹鋼吊環螺釘
不銹鋼螺母系列
不銹鋼墊圈系列
熱鍍鋅緊固件系列
熱鍍鋅外六角螺絲
熱鍍鋅內六角螺絲
熱鍍鋅雙頭螺柱
熱鍍鋅螺母
熱鍍鋅墊圈
工業緊固件系列
組合螺釘
法蘭螺栓
膨脹螺栓
全牙牙條
美制螺絲
圓螺母
高強度緊固件系列
12.9級內六角螺絲
12.9級外六角螺絲
12.9級塞打螺釘
12.9級緊定螺釘
10.9級鋼結構螺栓
10.9級沉頭內六角
10.9級盤頭內六角
鈑金緊固件系列
壓鉚螺母
壓鉚螺釘
壓鉚螺柱
焊接螺母
拉鉚螺母
焊接螺釘
抽芯鉚釘
通用緊固件
嵌裝銅螺母
六角隔離柱
TONG不銹鋼
鋼絲螺套
尼龍緊固件
|
|
不銹鋼拉鉚螺母的材料是SUS304生產,它的安裝標準和其它碳鋼鍍鋅拉鉚螺母相同,都是采用專用的拉鉚工具來操作。但拉鉚螺母的標準卻有很多細分,同一規格的不銹鋼拉鉚螺母,它的形狀卻各不相同,使用環境也是略有區別。
拉鉚螺母是一種應用在鈑金行業的螺母產品,它還可以在彎管內不平整的地方施工操作,是常用的六角螺母無法代替的,它可以一個很小的空間內完成它的使命。比如說在一個很矮的二個面板間,如果需要在上面安裝一個螺母,壓鉚或是漲鉚都無法施工,而六角螺母不要說旋轉了,就連安裝工具都放不進這個狹小的空間中,那么拉鉚螺母就可以上場表演了。不銹鋼拉鉚螺母創造了在薄片壁掛式安裝中,它是最成功最適用的一款緊固件產品,安裝便捷,也不要焊接,內螺紋十分牢固。不銹鋼拉鉚螺母的螺紋是采用無切削絲錐擠壓成型,螺紋強度高,可以無限次重復使用。所以在國標手冊中,拉鉚螺母的標準也是分了好幾種。
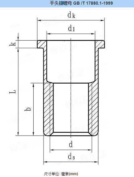
來看一下拉鉚螺母標準有哪些。在國標中,拉鉚螺母的代號是用GB/T17880.1、GB/T17880.2、GB/T17880.3、GB/T17880.4、GB/T17880.5這五個來表示的,那么這五個標準各有什么不一樣呢。我們先從GB/T17880.1開始。

它的中文名稱叫平頭拉鉚螺母,圖片中的材料是不銹鋼拉鉚螺母,當然也有鍍鋅的拉鉚螺母,這個根據要求采購就可以了。安裝方法和制造標準是一樣的。我們需要注意哪些尺寸要求呢,也就是說,我們在收到貨,需要檢驗哪幾個尺寸才知道它是不是合格品,請看下面的示意圖:

我們再來看一個GB/T17880.2的圖是什么樣的:

它的中文名稱叫沉頭拉鉚螺母,為什么叫沉頭呢?因為它的頭沿不是一個平面的,而是有一個120度的角,而且頭部直徑也比較小一些,平頭拉鉚螺母安裝完成后,它的頭是在鈑金上面的,而這個沉頭是剛好相反,它會沉下去,和鈑金一樣平。那么GB/T17880.3又是什么樣的呢?
我們不放圖片對比了,因為GB/T07880.3的中文名叫小沉頭拉鉚螺母,加了一個小字,表示它的頭部直徑比沉頭拉鉚螺母更小,其它都一樣了。僅僅是看圖片確實看不出有什么不一樣的,這就是不放圖片對比的原因了,包括GB/T17880.4也是一種小沉頭拉鉚螺母。用戶在購買時需要把這二者說清楚。下面看一下GB/T17800.5的圖:

看到圖上二張圖有何不同了嗎。它的中文名稱是平頭六角拉鉚螺母,細分為平頭半六角拉鉚螺母,右邊就是。而左邊的是平頭全六角拉鉚螺母。這個也需要用戶在購買說清楚,不然容易弄錯哦。拉鉚螺母還有一種盲孔拉鉚螺母,它是一種加長型的拉鉚,螺紋尾端是封裝的,能起到一定的防水作用,在電梯中使用的比較多,我們看下它的圖片:

當然盲孔拉鉚螺母也有六角型的,左邊的示意圖就是了經過上面的分析,我們知道拉鉚螺母的主要區別了,如果實在是不明白,可以直接電話咨詢。聯系電話:0510-82446170.
我們最后來看一下它是怎么安裝的,然后再來分析它的標準有何不同。下面的示意圖是安裝過程,但是我們要先來一張安裝工具的圖:
 
這是一把汽動拉鉚工具,它可以反轉和正轉,而工具頭是可以隨時更換的,每一個規格的拉鉚螺母對應一個標準的工具頭。左邊這張是手動的安裝工具,在使用量不大的時候,可以用手動工具來安裝,必竟汽動拉鉚工具的成本要高出不少了。
手動拉鉚工具的的工作原理和汽動拉鉚工具一樣,只不過它是完全手工操作,看結構就明白了,不多說,主要還是要來看拉鉚螺母的安裝過程:

首先,將拉鉚工具頭的螺紋對準拉鉚螺母然后按下開關,將拉鉚螺母旋進前端的螺紋頭。如果是手動拉鉚工具,直接拉一下中間的桿就能起到一樣的效果。
 
然后將拉鉚螺母放放鈑金開好的孔內,按下開關,讓前端螺紋桿旋轉。注意,此時因為前端螺桿的螺紋端已經全部旋轉到位了,再次旋轉時,它就會將拉鉚螺母的一端向內拉伸,而拉鉚螺母的右端是一個空的,沒有螺紋,向后的拉力會讓拉鉚螺母產生變形,然后就會將鈑金咬住了。最后這個內螺紋就形成了。
 
看到了嗎,拉鉚螺母的安裝是不需要在狹小的空間來操作的,它直接從外面就可以將一個螺母安裝在鈑金上了,當拉鉚螺母鉚緊后,反轉前端的螺紋桿就可以退出了,整個安裝過程到此結束。
 |